Descrizione
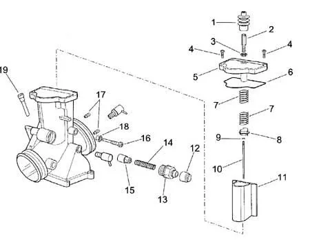
- Include tutti i componenti necessari per completare la conversione e tre getti Power Jet tipo N102/221 (80, 100, 120) per avviare la taratura
- Converte un carburatore Mikuni tipo VM in un carburatore Power Jet (dimensioni 30 mm-44 mm)
- Prodotti in Giappone








Recensioni
Ancora non ci sono recensioni.